구글(Google) vs 파캔오피씨 파이트
여러 신문에 파캔오피씨의 구글에 대한 특허 소송이 잇달아 나오고 있습니다. 그것을 스물 다섯의 경향 블로그에서 다루어 주셨는데요, 팔글에서는 약간 깊에 들어가 보겠습니다.
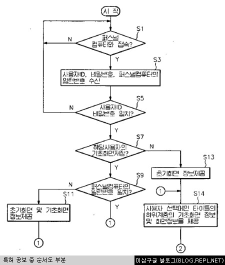
파켄오피씨가 소유했다는 특허는 특허 등록번호 10-0369436으로 표제는 신문에 나온 것과는 약간 다른 “동적 멀티 웹 표시 검색 방법”입니다. 이 특허는 2000년 3월 31일에 출원하여 2003년 1월 10일에 정식 등록되었습니다.
이 특허의 특허권자는 특허공보를 참고해 보면 (주)루루커뮤니케이션즈가 소유하고 있고, 이 회사는 인터넷 컨텐츠를 자기가 원하는데로 배치할 수 있는 DMWV(Dynanic Multi Web View)의 개발사입니다. 그 당시 전자신문엔 이런 기사가 나왔습니다.
전자신문 2000/08/16자 인용:
루루커뮤니케이션즈(대표 박병준 http://www.looloo.net)는 인터넷상에서 원하는 콘텐츠를 조합해 각종 정보를 손쉽게 관리하고 자신만의 인터넷 포털사이트를 구축, 한 번의 클릭으로 모든 인터넷 서비스를 이용할 수 있는 웹뷰 엔진인 DMWV(Dynanic Multi Web View)를 개발하고 16일 인터컨티넨탈 호텔에서 기술 발표회를 개최했다.
이 기사로 추측하건데, 현재 유행하는 마이페이지류는 루루커뮤니케이션즈의 주력 아이템이었던 것 같습니다. 그리고, 특허 등록에 성공했습니다.

이 부분에 대한 자료는 특허정보 검색서비스를 이용하던지, 아니면 구글 페이지에 올린 사본(PDF)을 참고하시기 바랍니다.
그러면 과연 이 특허가 유지될 수 있을까요?
구글이 현재 서비스하고 있는 개인화 페이지보다 야후의 마이야후! 서비스가 훨씬 앞서서 개시한 서비스입니다. 인터넷 아카이브에는 1998년 12월 12일부터 저장되어 있는 것으로 봐서는 실제 서비스는 그보다 몇주 앞서있을 가능성이 있습니다. 요는 루루커뮤니케이션즈보다 서비스가 빨랐다는데 있습니다.

특허가 등록이 됐다 하더라도 이전에 유사서비스가 존재한다면 그 특허는 폐기되기 마련인데요, 이번 경우는 특허 내용을 볼 때 그럴 가능성이 적지 않습니다. 이 부분에 대해서는 변리사 출신 블로거 분들이 코멘트 해 주시겠죠?
지금부터 6년전에 이런 특허를 낸 것은 대단한 일이지만, 구글을 상대로 소송에서 이기는 것도 쉬워 보이진 않습니다.
Comments